如何制备黑磷——有望超过石墨烯的新材料
磷是地球上含量最丰富的元素之一,约占地壳中所有元素质量的0.1%。磷元素的同素异形体有红磷、白磷、紫磷和黑磷,其中黑磷的性质最为稳定,反应活性最弱,它在空气中不会燃烧。黑磷是用白磷在很高压强和较高温度下转化而形成的。
黑磷的物理性质
黑磷的制备方法
高压法
高压法是最早用于黑磷制备的方法,1914年Bridgman开发出来的。实验步骤:首先将白磷放入长约15cm、内径1.5cm的圆柱型钢制容器,然后将装有白磷的容器放入装有煤油的高压装置,并在室温条件下加压至0.6×109 Pa,随后,将装置加热到200℃,压力提升到1.2×109Pa,可得到黑磷。高压法制备黑磷重复性较好,并且很短时间内就能实现红磷到黑磷的转化。但是其制备方法需要用到超高压设备,一定程度上导致黑磷生产成本较高,不利于大规模商业化生产
铋熔化法
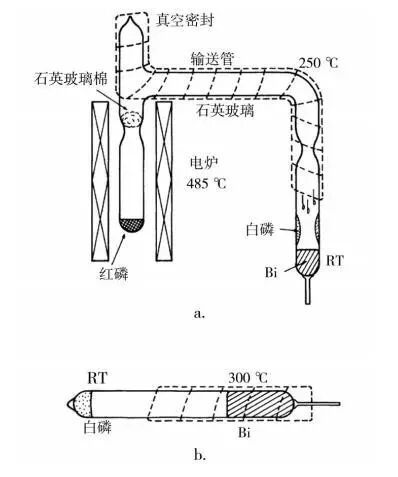
首先,在氩气气氛下将红磷和铋颗粒分别放在装置左右两边,并进行抽真空密封处理(如图 2a.所示);然后,对红磷和铋粉加热处理,右端底部会形成铋块,上面则生成白磷,此时把装置右端取下(如图 2b.所示);最后,在300℃下加热铋,并将液铋浇注到固体白磷上,把装置放400℃环境下保温48h,随后降至室温,用硝酸除去铋,即可得到黑磷。
图2:铋熔化法制备黑磷装置示意图
矿化法
矿化法是近几年开发的一种制备黑磷的方法。将Au、Sn、SnI4与红磷按一定质量的比例混合,真空封装在石英管中,加热至一定的温度并保温一定的时间,即可得到黑磷,但最终产物中存在少量未转化的红磷及反应生成的金属磷化物等杂质。但Au价格昂贵,SnI4有毒。后来研究者们发现直接以I、Sn、红磷为原料在常压下也能制备出黑磷,其具体步骤:将Sn、I和红磷在氩气气氛下密封,经过程序升降温处理,同样制备出了黑磷。该制备方法不但不再使用昂贵且有毒的SnI4作为矿化剂,而且不再需要真空处理,因而简化了制备工艺流程,成本大大降低,具有很好的工业化应用前景。
制备方法比较
黑磷未来发展前景
用类似制备石墨烯的方法,黑磷也可以得到黑磷烯。与黑磷相比,黑磷烯具有较高的比表面积、较好的机械性能及电学性能,黑磷和黑磷烯在锂离子电池、钠离子电池和超级电容领域都具有较好的应用前景。但是黑磷的致命缺陷是缺乏稳定性。当接触水和氧气时,黑磷片层会在极短时间内氧化进而降解。这一缺陷极大地限制了黑磷的研究和工业应用。高稳定性黑磷的成功制备,无疑可有效推动黑磷在光电器件等领域的工业应用,还将极大促进其在能源、催化、生物医学等领域的深入研究。

